Avec des dimensions compactes de seulement 16 mm², Infineon met à disposition des développeurs ce que la société estime être le plus petit capteur radar 60 GHz du marché avec antennes en boîtier intégré (AIP, Antennas in Package).
Référencé BGT60UTR11AIP, ce circuit de la gamme Xensiv est spécialement conçu pour être intégré dans des appareils de petite taille, avec en ligne de mire les applications médicales pour la détection des fonctions vitales (fréquence cardiaque et respiratoire) et pour les appareils de santé tels que les babyphones et les traceurs de sommeil. Il convient aussi aux appareils électroniques grand public tels que les ordinateurs portables, les téléviseurs et les appareils photo, ainsi qu'aux appareils intelligents pour les maisons et les bâtiments tels que les climatiseurs, les thermostats et les sonnettes intelligentes. Le capteur radar peut également être utilisé dans des applications industrielles, notamment la robotique et la mesure du niveau des réservoirs.
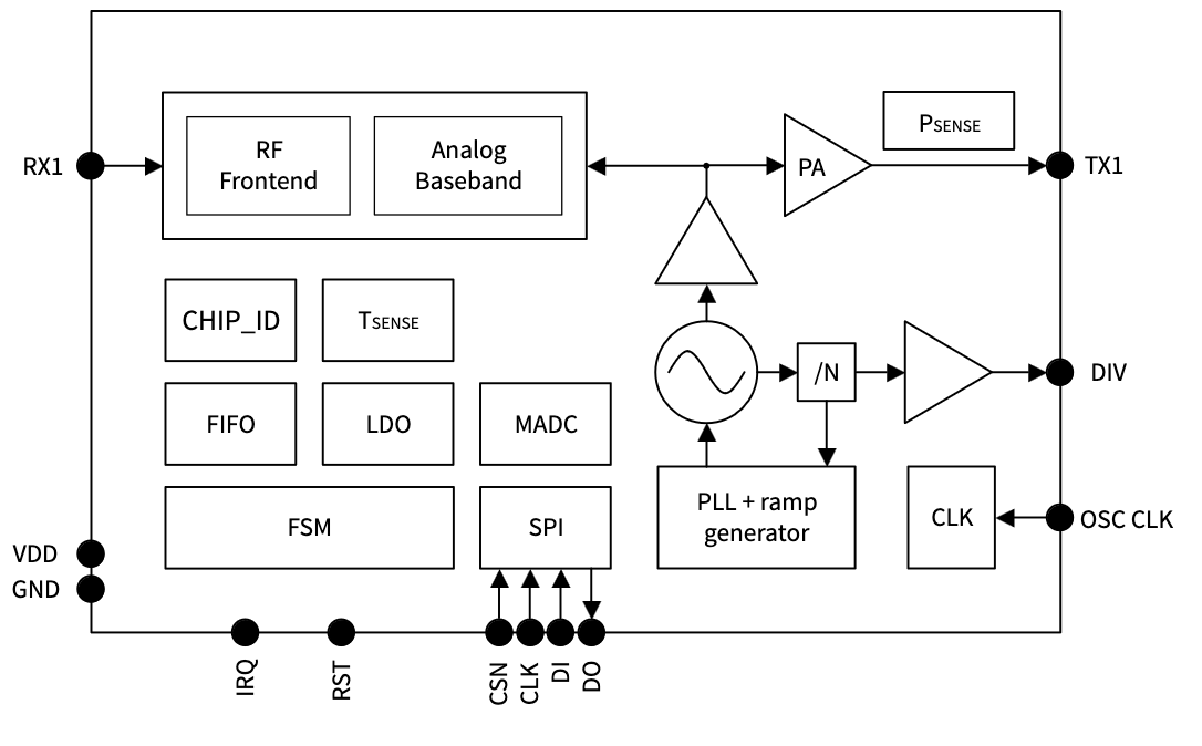
D’un point de vue technologique, le circuit intégré monolithique micro-ondes (MMIC) est fondé sur la technologie B11 SiGe BiCMOS d'Infineon, qui garantit une bande passante ultralarge de 5,6 GHz et une vitesse de rampe de 400 MHz/µs. En conséquence, le capteur autorise un fonctionnement de type FMCW (Frequency-Modulated Continuous Wave) avec détection de présence et de mouvement à une portée allant jusqu'à 15 m.
De plus, le capteur permet une mesure précise de la distance, une détection des gestes et des signes vitaux, le tout avec des capacités de détection de mouvements inférieurs au millimètre. Les antennes intégrées offrent un champ de vision de ±60° et une machine à états intégrée permet l'acquisition de données en temps réel sans interaction avec le processeur hôte.
Ce circuit MMIC comprend également un convertisseur analogique-numérique sur 12 bits avec un taux d'échantillonnage allant jusqu'à 4 Méch./s
Enfin, en mode broadcast, le circuit autorise la synchronisation de plusieurs puces et comprend des capteurs spécifiques pour mesurer la puissance d'émission et la température.

