Si il existe à l'heure actuelle sur le marché de nombreuses solutions de cartes CoM (Computer On Module) architecturées autour du processeur i.MX 95 de NXP - ADlink avec un module au format Smarc, Variscite avec un modules propriétaires (le DART-MX95) doté d’un connecteurs carte à carte ou encore Toradex avec un connecteur SO-DIMM (modèle Verdin MX95) - l'israélien Compulab innove dans ce domaine en proposant une des premiers module à souder sous la forme d’un boîtier QFN avec pastilles CMS, doté d’un i.MX 95 (circuit référencé MCM-iMX95-C1800HM-D8-N64).
On notera que sur ce domaine des systèmes processeur à souder, ADLink a indiqué qu’il développait un module à souder avec l’i.MX 95, conforme au standard OSM (Open Standard Module) (*).
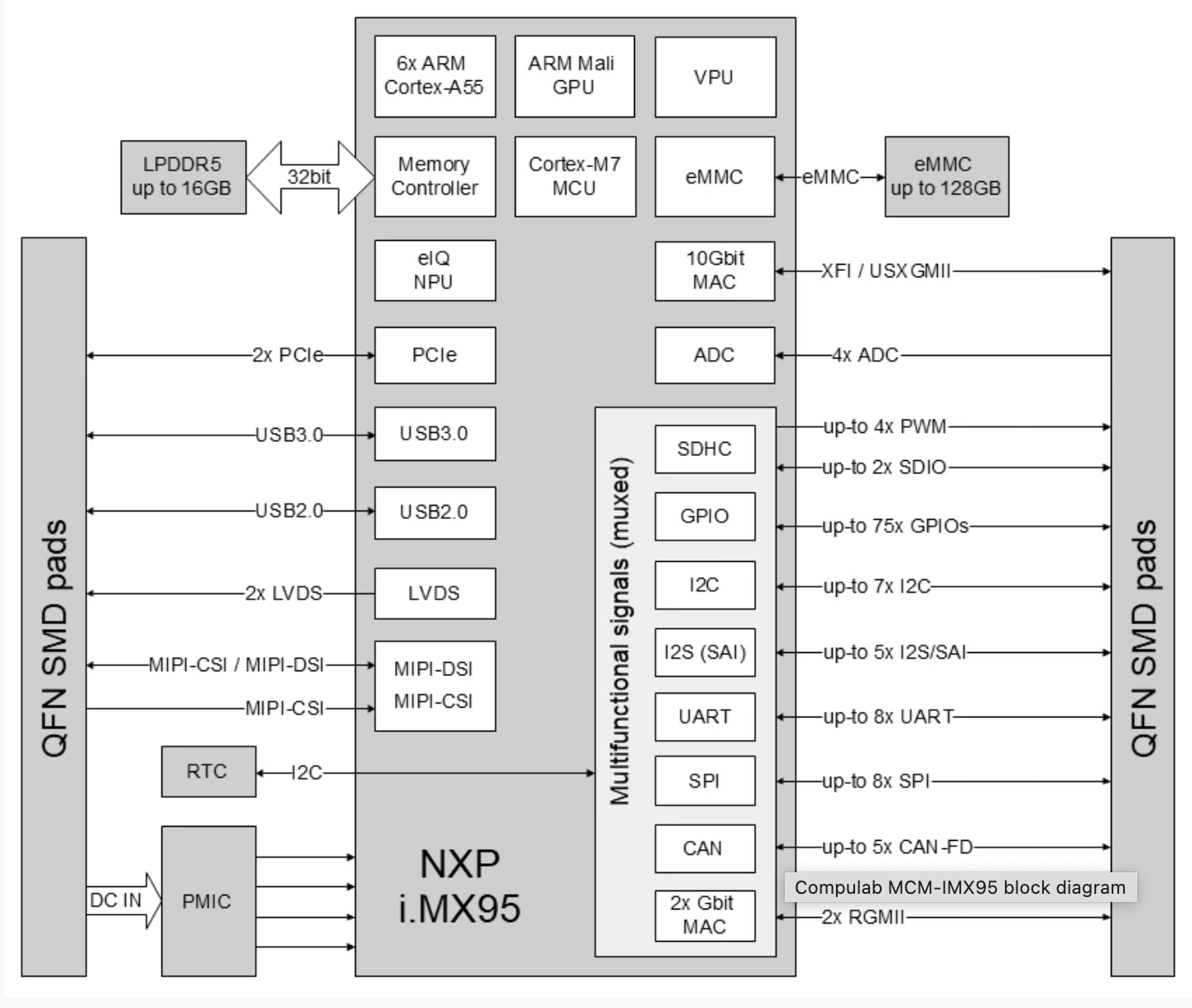
Le module à quatre coeurs Arm Cortex-A55 de Compulab quant à lui est livré avec de 4 à 16 Go de mémoire LPDDR5 et de 16 à 128 Go de mémoire flash eMMC flanqués d’un circuit de gestion d’alimentation intégré (PMIC PF0900 de NXP) et d’une horloge temps réel.
Toutes les entrées/sorties sont accessibles à travers 180 pastilles CMS dont des interfaces d'affichage LVDS et MIPI DSI, deux interfaces caméra MIPI CSI, deux ports Ethernet à un Gigabit et 10 Gbit/s, deux interfaces PCIe Gen3 x1, etc.
Côté logiciel, Compulab fournit un support pour le projet Yocto, le systèmes Debian Linux et les systèmes d'exploitation temps réel avec des BSP et des images prêtes à l'emploi. Compulab met aussi en avant la prise en charge de la technologie Docker, de la plate-forme de développent our l’IoT MS Azure IoT, de l’environnement de développement "low code" Node-RED et des systèmes de mise à jour OTA (Over The Air) à travers un partenariat avec la société Mender.
Dans le même temps, le kit d'évaluation référencé MCM-iMX95 développé par Compulab, permet d’accéder la démarrage d’une application. Il intègre un système sur module processeur avec l’i.MX 95 - avec 8 Go de mémoire RAM et 64 Go de mémoire flash eMMC - une carte porteuse (référencée SB-MCMIMX95), une antenne Wi-Fi, divers câbles et une alimentation 12 V. Un écran LCD LVDS de 7 pouces avec écran tactile et un modem cellulaire LTE de chez Quectel (circuit EG25G) complètent l’ensemble.

