La firme anglaise Pickering Interfaces, fournisseur de solutions modulaires de commutation et de simulation de signaux pour les tests et vérifications de systèmes électroniques, lance une gamme de modules de commutation en châssis aux standards PXI et PXI Express (PXIe) à un seul emplacement qui sont des unité d'insertion de défauts (FUI, Faut Unit Insertion) conçus pour simuler les défauts communs dans les protocoles de communication haut débit, prenant en charge les dernières évolutions des exigences de test MultiGBASE-T1 utilisés dans le monde automobile.
Ces cartes de commutation sont dotées de commutateurs fabriqués avec une technologie Mems (systèmes micro électromécaniques) en vue d’obtenir à la fois une commutation rapide de haute qualité, une bande passante élevée et une très longue durée de vie des systèmes de test.
Pour rappel, approuvée en juin 2020, la norme IEEE 802.3ch Ethernet MultiGBase-T1 spécifie des débits de 2,5, 5 et 10 Gbit/s sur une seule paire de cuivre et vise à répondre à l’augmentation du trafic de données dans les automobiles alors que se développent à grande vitesse des technologies telles que la conduite autonome, la 5G et la voiture connectée.
« Nos modules en technologie MEMS procurent des caractéristiques qui sont impossibles à obtenir avec d'autres technologies de commutation traditionnelles, explique Steven Edwards, Directeur produit chez Pickering. Les limitations de capacité propres aux relais Reed ou aux relais électromécaniques (EMR) classiques les empêchent de prendre en charge les exigences de bande passante et de débit des derniers protocoles MultiGBASE-T1, ce qui nous a amené à utiliser des commutateurs MEMS afin de proposer des FIU à bande passante suffisamment élevée pour ce type de test de liens Ethernet à haut débit. »
Avec cette technologie, Pickering indique que la vitesse de fonctionnement d’un module de test est de 50 µs pour les commutateurs de signaux, ce qui augmente notoirement débit global du système de test. Conséquence, selon Pickering, la longévité des modules de commutation, donc des systèmes de test, est également prolongée grâce à une durée de vie opérationnelle de cartes jusqu’à 3 milliards d’opérations.
Ces modules sont principalement conçus pour les applications de simulation HIL (Hardware-In-the-Loop) dans l’automobiles, notamment pour la vérification de la conception des composants réseau Ethernet MultiGBASE-T1 haut débit, tels que les contrôleurs ADAS (systèmes avancés d'aide à la conduite), avec des débits réseau atteignant actuellement 10 Gbit/s. Le FIU permet ici de valider le fonctionnement sûr et constant du contrôleur en présence de divers défauts de connectivité.
Au-delà du monde automobile, Pikering indique aussi que cette technologie d’Ethernet à paire unique connaît un usage croissant dans les applications aérospatiales et industrielles grâce à sa simplicité de mise en œuvre, son faible coût et son poids réduit par rapport au câblage Ethernet CAT 5/6 standard.
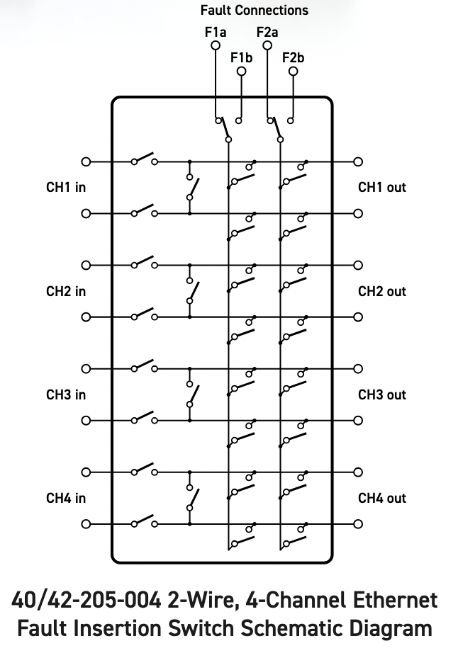
Ainsi, avec quatre ou huit canaux de signaux sur 2 fils à impédance adaptée, un seul module prend en charge les protocoles de communication qui vont de l'ancien 10BASE-T1 à la dernière norme Ethernet automobile 10GBASE-T1 autorisant les utilisateurs à pérenniser leurs systèmes face à l'évolution des exigences de test, selon Pickering.
Par défaut, les canaux 2 fils traversent directement le module sans perte de signal significative. Il est également possible de configurer n'importe quel fil en circuit ouvert ou d'appliquer des courts-circuits entre les paires de fils. Les connexions de défaut peuvent également être établies avec l'un des quatre signaux externes à travers deux bus de défaut, chacun doté d'une connectivité de commutation de type EMR, simulant généralement des connexions à la tension d'alimentation/à la terre, ou des défauts résistifs entre les canaux.
Dans le détail, utilisant la technologie de commutation MEMS développée avec Menlo Micro, les canaux de signaux de Pickering présentent une faible perte d'insertion et un faible VSWR (Voltage Standing Wave Ratio, une mesure de la qualité de l'adaptation d'une ligne de transmission) ainsi que des caractéristiques RF répétables au-delà de 6 GHz.
Les modules minimisent également l'injection de bruit et de signaux indésirables dans le trajet du signal grâce à une conception mécanique et électrique adaptée. Chaque canal peut ainsi supporter jusqu'à 0,5 A et est calibré à 100 V entre les paires de fils. Ces dernières ont une impédance de ligne de transmission contrôlée, adaptée à la plupart des systèmes de signalisation à paires torsadées simples.
Quant aux bus de défauts, ils peuvent chacun supporter un courant de 1,6 A, ce qui permet de connecter plusieurs canaux à la même condition de défaut. De plus, chaque bus de défaut est équipé d'un relais inverseur EMR, permettant à l'utilisateur de sélectionner d'autres conditions de défaut externes.
Enfin, pour prendre en charge plusieurs familles de connecteurs MultiGBASE-T1 spécifiques aux utilisateurs et aux applications, le module est doté d'une interface de connecteur haut débit unique acheminant vers un accessoire de dérivation, lequel se convertit en plusieurs connecteurs Rosenberger de la série H-MTD (photo ci contre) pour les connexions de canaux, ainsi qu'un connecteur Sub D à 9 broches pour les connexions du bus de défaut.
Disponibles dans un format compact à un seul emplacement, ces cartes référencées 40-205, pour le format PXI et 42-205 pour le format PXI Express, font partie de la gamme de modules de commutation d'insertion de défauts pour interface série à deux fils de la société.
Pour être complet, signalons enfin que pour faciliter la surveillance de l'état de santé des cartes de commutation de Pickering, toutes les versions intègrent une fonction de comptage des cycles de relais, permettant aux utilisateurs d'identifier les chemins les plus sollicités.
